EnglishالعربيةFrançaisPortuguêsРусскийEspañol
 تحرير الترجمة
بواسطة Transposh - translation plugin for wordpress

الكمال للمبيعات, قطع الغيار - العرض

2024-05-25

Омыватель ветрового окна FAW J5

Омыватель ветрового окна FAW J5 Омыватель ветрового окна FAW J5 (رقم الجزء 5207010-50) – هذا عنصر مهم, обеспечивающий чистоту и отличную видимость во время движения вашего […]
2024-05-25

Wind Window Glass و FAW J5 Sealing Film

Стекло ветрового окна и уплотнительная плёнка FAW J5 Устройства шарнира кабины FAW J5 (رقم الجزء 5206011-50) هي مكون مهم, обеспечивающим надежное и безопасное соединение кабины с […]
2024-05-25

Стеклоочиститель FAW J5

Стеклоочиститель FAW J5 Стеклоочиститель FAW J5 в сборе (номер детали 5205010-A20) – هذا مكون مهم, обеспечивающий чистоту и прозрачность стекол вашего автомобиля. В комплект поставки стеклоочистителя […]
2024-05-25

لوحة Oddelny منخفضة FAW J5

Низкая обделочная плита FAW J5 Низкая обделочная плита FAW J5 в сборе (الجزء رقم 5201155-A20) – هذا عنصر مهم, который не только придает эстетический вид вашему […]
2024-05-25

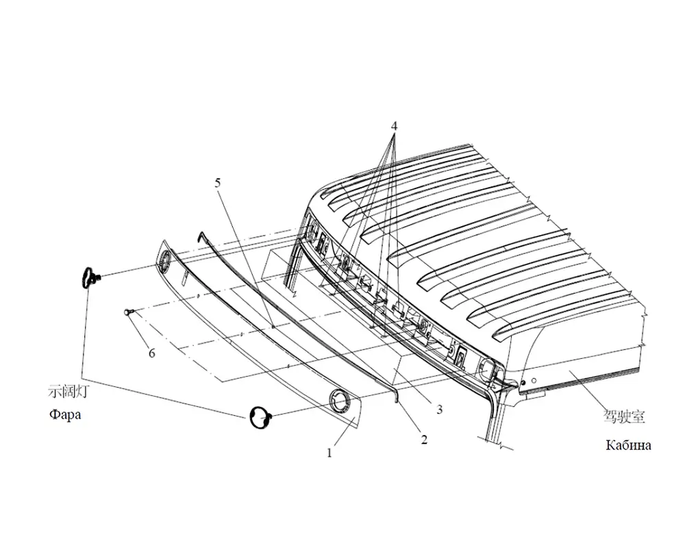
Обделочная плита ветрового окна FAW J5

Обделочная плита ветрового окна FAW J5 Обделочная плита ветрового окна FAW J5 играет важную роль в обеспечении защиты и эстетики вашего автомобиля. В комплект поставки обделочной […]
2024-05-25

مفصلات الملفوف FAW J5

Устройства шарнира кабины FAW J5 Устройства шарнира кабины FAW J5 играют ключевую роль в обеспечении гибкости и стабильности кабины вашего автомобиля. В комплект поставки устройств шарнира […]
2024-05-25

Задняя подвеска кабины FAW J5

Задняя подвеска кабины FAW J5 Задняя подвеска кабины FAW J5 – هذا عنصر مهم, который обеспечивает комфорт и устойчивость кабины вашего автомобиля. В комплект поставки задней […]
2024-05-25

FAW J5 Cabin

FAW J5 FAP CAB. – هذا مكون مهم, مما يضمن استقرار وموثوقية مقصورة سيارتك. في مجموعة تسليم الدعم […]
2024-05-25

لوحة جانبية من محرك FAW J5

يلعب الدرع الجانبي للوحة الجانبية المحرك FAW J5 من محرك FAW J5 دورًا مهمًا في حماية سيارتك من الأضرار والأضرار أثناء التشغيل. في المجموعة […]
دردش معنا
دردش معنا
أسئلة, الشكوك, مشاكل? نحن هنا لمساعدتك!
جاري الإتصال...
لا يوجد أي من مشغلينا متاحين في الوقت الحالي. لو سمحت, حاول مرة أخرى في وقت لاحق.
المشغلون لدينا مشغولون. الرجاء معاودة المحاولة في وقت لاحق
:
:
:
:
هل لديك سؤال? اكتب لنا!
:
:
انتهت جلسة الدردشة هذه